南水设计院全面启用项目防伪二维码啦!!!

2022-03-04

640 (1).jpg

    为了提高项目质量和项目安全性,南水设计院自2022年3月份起全面启用项目防伪二维码,公司所有项目设计合同和项目图纸必须同步使用该二维码。

    分公司只需在总公司业务系统进行项目备案,即可生成下载项目二维码。


总公司业务系统:

0F5906C4-E8BE-4ede-8488-8A0957EBAF32.png

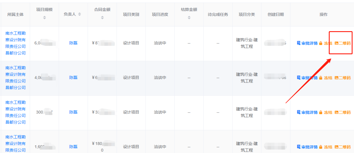
项目备案生成二维码:

二维码下载:

二维码能完整查询该项目的所有基本信息

FEB7B047-8235-466f-A197-40B88BBD4DFC.png

640.webp (3).jpg




手机:137-2000-0781

地址:北京市朝阳区佳境天成望京中环南路甲2号佳境天成B-2305号

感谢对南水设计的关注

Copyright © 2019 - 2027南水工程勘察设计院有限责任公司 |京ICP备19009062号